0%

muduo源码阅读笔记(6、EvevntLoop和Thread)

Muduo源码笔记系列:

muduo源码阅读笔记(0、下载编译muduo)

muduo源码阅读笔记(1、同步日志)

muduo源码阅读笔记(2、对C语言原生的线程安全以及同步的API的封装)

muduo源码阅读笔记(3、线程和线程池的封装)

muduo源码阅读笔记(4、异步日志)

muduo源码阅读笔记(5、Channel和Poller)

muduo源码阅读笔记(6、ExevntLoop和Thread)

muduo源码阅读笔记(7、EventLoopThreadPool)

muduo源码阅读笔记(8、定时器TimerQueue)

muduo源码阅读笔记(9、TcpServer)

muduo源码阅读笔记(10、TcpConnection)

前言

终于到了Muduo网络库最最核心的部分,这里还是建议大家亲自看看源码。源码很好读,博客最多起到辅助作用。因为EventLoop和Thread是绑定的,所以,可能这两部分放在一起更适合。

了解ExevntLoop和Thread后,对One Loop Per Thread思想,就有了一个大体的轮廓,这种设计思想,真的很高效,因为,每个线程都有自己的资源,比如epoll、IO事件处理,定时器、任务队列等。每个线程内部资源都是自我维护的(自己的事情自己做), 除了对线程的任务队列进行操作时有一段极小的临界区需要加锁外,不涉及任何锁的竞争。这里为每个线程设置自己的任务队列的思想特别关键,正是利用每个线程只处理自己任务队列里面的回调任务,实现了将并行任务串行化的效果。 将原本的并发(涉及线程安全,需要加锁)操作,封装成任务(无需加锁)回调,添加到各自的任务队列中,交给线程自己处理。实现了线程的隔离无锁化编程,巧妙的利用单线程天生串行执行的优势。活该Muduo高性能、高并发。

EventLoop的实现

提供的接口:

1
2
3
4
5
6
7
8
9
10
11
12
13
14
15
16
17
18
19
20
21
22
23
24
25
26
27
28
29
30
31
32
33
34
35
36
37
38
39
40
41
42
43
44
45
46
47
48
49
50
51
52
53
54
55
56
57
58
59
60
61
62
63
64
65
66
67
68
69
70
71
72
73
74
75
76
77
class EventLoop : noncopyable{
public:
typedef std::function<void()> Functor;

EventLoop();
~EventLoop(); // force out-line dtor, for std::unique_ptr members.

///
/// Loops forever.
///
/// Must be called in the same thread as creation of the object.
///
void loop();

/// Quits loop.
///
/// This is not 100% thread safe, if you call through a raw pointer,
/// better to call through shared_ptr<EventLoop> for 100% safety.
void quit();

/// Runs callback immediately in the loop thread.
/// It wakes up the loop, and run the cb.
/// If in the same loop thread, cb is run within the function.
/// Safe to call from other threads.
void runInLoop(Functor cb);
/// Queues callback in the loop thread.
/// Runs after finish pooling.
/// Safe to call from other threads.
void queueInLoop(Functor cb);

size_t queueSize() const;

// timers

// ...

// internal usage
void wakeup();
void updateChannel(Channel* channel);
void removeChannel(Channel* channel);

// pid_t threadId() const { return threadId_; }
void assertInLoopThread()

bool isInLoopThread() const { return threadId_ == CurrentThread::tid(); }
// 获取当前线程的EventLoop
static EventLoop* getEventLoopOfCurrentThread();

private:
void abortNotInLoopThread();
void handleRead(); // waked up
void doPendingFunctors();

typedef std::vector<Channel*> ChannelList;

bool looping_; /* atomic */ // 在loop()中?
std::atomic<bool> quit_; // EventLoop是否退出
bool eventHandling_; /* atomic */ // 正在处理事件?
bool callingPendingFunctors_; /* atomic */ // 正在处理任务回调?
int64_t iteration_; // loop()循环的次数
const pid_t threadId_; // EventLoop和哪个线程绑定?
Timestamp pollReturnTime_; // epoll_wait返回时的时间戳
std::unique_ptr<Poller> poller_; // epoll/poll
std::unique_ptr<TimerQueue> timerQueue_; // 定时器
int wakeupFd_; // tickleFd,用于手动唤醒epoll_wait,以便即使处理任务
// unlike in TimerQueue, which is an internal class,
// we don't expose Channel to client.
std::unique_ptr<Channel> wakeupChannel_; // 管理tickleFd的channel
boost::any context_; // 待定

// scratch variables
ChannelList activeChannels_; // poller_收集到的fd(channel)事件
Channel* currentActiveChannel_; // loop()正在处理的channel

mutable MutexLock mutex_; // 只对pendingFunctors_提供保护
std::vector<Functor> pendingFunctors_ GUARDED_BY(mutex_); // 任务队列
};

Muduo在EventLoop中,使用了Linux系统中EventFd,作为wakeupChannel_的成员。这里主要为了将线程即时唤醒处理回调任务。如果你阅读过sylar的源码应该在这里会有所感知,EventLoop::wakeup()函数其实作用和sylar中的IOManager::tickle()类似。

此外,为了和Muduo的EventLoop适配,Muduo定时器的实现也是利用Linux上提供的TimeFd,在TimerQueue构造函数中,也会为该fd构造一个Channel,并将该Channel注册到EventLoop的Poller中,这样极大的方便了定时器的管理与维护。

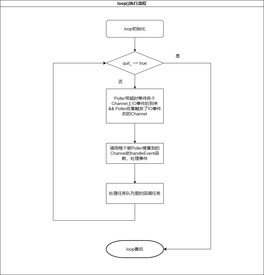
简单画了一下EventLoop中核心函数EventLoop::loop()的执行流程图:

loop执行流程

实现的伪代码:

1
2
3
4
5
6
7
8
9
10
11
12
13
14
15
16
17
18
19
20
21
22
23
24
25
26
27
28
29
30
31
32
33
34
35
36
37
38
39
40
41
42
43
44
45
46
47
48
49
50
51
52
53
54
55
56
57
58
59
60
61
62
63
64
65
66
67
68
69
70
71
72
73
74
75
76
77
78
79
80
81
82
83
84
85
86
87
88
89
90
91
92
93
94
95
96
97
98
99
100
101
102
103
104
105
106
107
108
109
110
111
112
113
114
115
116
117
118
119
120
121
122
123
124
125
126
127
128
129
130
131
132
133
134
135
136
137
138
139
140
141
142
143
144
145
// 线程全局变量,for将线程和EventLoop绑定
__thread EventLoop* t_loopInThisThread = 0;

EventLoop::EventLoop()
: // ...
threadId_(CurrentThread::tid()),
poller_(Poller::newDefaultPoller(this)), // epoll
timerQueue_(new TimerQueue(this)), // Muduo定时器采用的是timerfd的接口,TimerQueue对象内部也构造了对应的channel,在构造时,会向EventLopp的Poller中注册该fd。
wakeupFd_(createEventfd()), // 创建一个非阻塞eventfd,作为tickle
wakeupChannel_(new Channel(this, wakeupFd_)){ // 将eventfd封装成channel

LOG_DEBUG << "EventLoop created " << this << " in thread " << threadId_;
if (t_loopInThisThread){
LOG_FATAL << "Another EventLoop " << t_loopInThisThread
<< " exists in this thread " << threadId_;
}else{
t_loopInThisThread = this; // 设置线程局部变量
}
// 为eventfd设置读回调
wakeupChannel_->setReadCallback(
std::bind(&EventLoop::handleRead, this));
// we are always reading the wakeupfd
wakeupChannel_->enableReading();
}

EventLoop::~EventLoop(){
// 善后
LOG_DEBUG << "EventLoop " << this << " of thread " << threadId_
<< " destructs in thread " << CurrentThread::tid();
wakeupChannel_->disableAll();
wakeupChannel_->remove();
::close(wakeupFd_);
t_loopInThisThread = NULL;
}

void EventLoop::loop(){
assert(!looping_);
assertInLoopThread(); // 在自己的线程中?
looping_ = true;
quit_ = false; // FIXME: what if someone calls quit() before loop() ?
LOG_TRACE << "EventLoop " << this << " start looping";

while (!quit_){
activeChannels_.clear();
pollReturnTime_ = poller_->poll(kPollTimeMs, &activeChannels_); // epoll_wait
++iteration_;
if (Logger::logLevel() <= Logger::TRACE){
printActiveChannels();
}
// TODO sort channel by priority
eventHandling_ = true; // 开始处理每一个fd被触发的事件
for (Channel* channel : activeChannels_){
currentActiveChannel_ = channel;
currentActiveChannel_->handleEvent(pollReturnTime_); // 利用channel处理事件
}
currentActiveChannel_ = NULL;
eventHandling_ = false; // 所有fd的事件被处理完
doPendingFunctors(); // 处理任务回调
}

LOG_TRACE << "EventLoop " << this << " stop looping";
looping_ = false;
}

void EventLoop::quit(){
quit_ = true;
// 有线程安全问题
// There is a chance that loop() just executes while(!quit_) and exits,
// then EventLoop destructs, then we are accessing an invalid object.
// Can be fixed using mutex_ in both places.
if (!isInLoopThread()){ // 其他线程调用quit,不确定线程是否是Active的,需要调用wakeup();
wakeup();
} // 在处理事件或者任务回调时,内部自己调用了quit,说名此时线程是Active的,不用去唤醒
}

void EventLoop::runInLoop(Functor cb){
if (isInLoopThread()) {// 线程自己调用runInLoop,本来就是Active,直接顺手处理
cb();
}else{ // 其他线程调用runInLoop,需要加锁
queueInLoop(std::move(cb));
}
}

void EventLoop::queueInLoop(Functor cb){
{
MutexLockGuard lock(mutex_);
pendingFunctors_.push_back(std::move(cb)); // 任务放入任务队列
}

if (!isInLoopThread() || callingPendingFunctors_){
// 其他线程调用queueInLoop || 线程在处理任务队列中的任务时调用了queueInLoop
//以便让线程不要阻塞在epoll_wait上从而及时处理任务回调。
wakeup();
}
}

void EventLoop::updateChannel(Channel* channel){
assert(channel->ownerLoop() == this);
assertInLoopThread();
poller_->updateChannel(channel);
}

void EventLoop::removeChannel(Channel* channel){
assert(channel->ownerLoop() == this);
assertInLoopThread();
if (eventHandling_){
// channel只有自己能remove自己,其他的channel禁止删除并非自己的channel
assert(currentActiveChannel_ == channel ||
std::find(activeChannels_.begin(), activeChannels_.end(), channel) == activeChannels_.end());
}
poller_->removeChannel(channel);
}
// 唤醒线程
void EventLoop::wakeup(){
uint64_t one = 1;
// tickle一下
ssize_t n = sockets::write(wakeupFd_, &one, sizeof one);
if (n != sizeof one){
LOG_ERROR << "EventLoop::wakeup() writes " << n << " bytes instead of 8";
}
}

void EventLoop::handleRead(){
uint64_t one = 1;
// tickle 回调处理
ssize_t n = sockets::read(wakeupFd_, &one, sizeof one);
if (n != sizeof one){
LOG_ERROR << "EventLoop::handleRead() reads " << n << " bytes instead of 8";
}
}

void EventLoop::doPendingFunctors(){
std::vector<Functor> functors;
callingPendingFunctors_ = true;
// 写时置换,同异步日志,即减少持锁时间,又减少死锁可能。
{
MutexLockGuard lock(mutex_);
functors.swap(pendingFunctors_);
}

for (const Functor& functor : functors){
functor();
}
callingPendingFunctors_ = false;
}

细节明细:

在EventLoop类的成员变量的定义顺序中,poller_的定义位于timerQueue_之上,这个定义的顺序很关键,首先在EventLoop在构造时,先按成员变量的定义顺序构造成员变量,再会构造EventLoop本身。在析构的时候,会先析构自身,再会去按成员变量的定义顺序的倒序,去析构成员变量。考虑到timerQueue_的析构是依赖poller_的,Muduo的定义顺序(先析构timerQueue_,再析构poller_),正好规避了这个问题。

EventLoopThread的实现

简单讲,EventLoop作用就是让EventLoop::loop()跑在线程上。

EventLoopThread的实现代码是自解释的,代码量很少,也很容易理解。

提供的接口:

1
2
3
4
5
6
7
8
9
10
11
12
13
14
15
16
17
18
19
class EventLoopThread : noncopyable{
public:
typedef std::function<void(EventLoop*)> ThreadInitCallback;

EventLoopThread(const ThreadInitCallback& cb = ThreadInitCallback(),
const string& name = string());
~EventLoopThread();
EventLoop* startLoop();

private:
void threadFunc();

EventLoop* loop_ GUARDED_BY(mutex_); // 依赖EventLoop
bool exiting_; // 线程是否living
Thread thread_; // 线程实体
MutexLock mutex_;
Condition cond_ GUARDED_BY(mutex_);
ThreadInitCallback callback_;
};

有了EventLoop和EventLoopThread后,结合muduo源码阅读笔记(3、线程和线程池的封装)一个EventLoopThread线程启动流程如下:

  1. EventLoopThread::startLoop() ->

  2. Thread::start() ->

  3. pthread_create(…, &detail::startThread,…) ->

  4. startThread(void* obj) ->

  5. ThreadData::runInThread() ->

  6. Thread::func_() ->

  7. EventLoopThread::threadFunc() ->

  8. EventLoop::loop()

实现的伪代码:

1
2
3
4
5
6
7
8
9
10
11
12
13
14
15
16
17
18
19
20
21
22
23
24
25
26
27
28
29
30
31
32
33
34
35
36
37
38
39
40
41
42
43
44
45
46
47
48
49
50
51
52
53
54
EventLoopThread::EventLoopThread(const ThreadInitCallback& cb,
const string& name)
: loop_(NULL),
exiting_(false),
thread_(std::bind(&EventLoopThread::threadFunc, this), name),
mutex_(),
cond_(mutex_),
callback_(cb){
}

EventLoopThread::~EventLoopThread(){
exiting_ = true;
if (loop_ != NULL){ // not 100% race-free, eg. threadFunc could be running callback_.
// still a tiny chance to call destructed object, if threadFunc exits just now.
// but when EventLoopThread destructs, usually programming is exiting anyway.
loop_->quit();
thread_.join();
}
}

EventLoop* EventLoopThread::startLoop(){
assert(!thread_.started());
thread_.start();

EventLoop* loop = NULL;
{
MutexLockGuard lock(mutex_);
while (loop_ == NULL){ // 解决条件变量惊群效应/虚唤醒
cond_.wait();
}
loop = loop_;
}

return loop;
}

void EventLoopThread::threadFunc(){
EventLoop loop;

if (callback_){
callback_(&loop);
}

{
MutexLockGuard lock(mutex_);
loop_ = &loop;
cond_.notify();
}

loop.loop();
//assert(exiting_);
MutexLockGuard lock(mutex_);
loop_ = NULL;
}

总结

在Muduo网络库的设计中,EventLoop 统一使用文件描述符(file descriptor)的方式来处理事件,主要是基于以下一些好处和设计原则:

  1. 一致性: 使用文件描述符作为事件的抽象,使得对于不同类型的事件(包括套接字、定时器等)的处理方式一致。这种一致性简化了 EventLoop 内部的设计和实现,使得对于事件的处理更加通用。

  2. 多路复用: 文件描述符是多路复用(Multiplexing)机制的核心。通过将多个文件描述符注册到同一个 EventLoop 中,可以使用诸如 select、poll、epoll 等多路复用技术,实现同时监听多个事件并进行有效的事件分发。

  3. 高效性: 文件描述符的处理在操作系统层面已经高度优化,使用多路复用机制可以高效地管理和调度大量的事件。这对于实现高性能的网络库尤为重要。

如果读者有阅读其他网络库源码就会不可思议的发现,Muduo的One Loop Per Thread设计思想太精妙了,这种设计几乎不存在锁的竞争!!!


本章完结